Sprache: DE
Beratung
Ihre Offerte 0
    Details
      • Ja
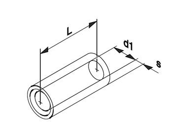
      • 0.5-1.0 mm2 AWG 20-18
      • 450
      • verzinnt
      • ohne
      • 0.8/1.6/0/0/0/5.0 mm
      • Parallelverbinder
    Technische Unterlagen

    Varianten

    zurück